|
|
| Untersuchte Arbeit: Seite: 12, Zeilen: 1-10 |
Quelle: Buhmann 2005 Seite(n): 17, Zeilen: 1-6 |
|---|---|
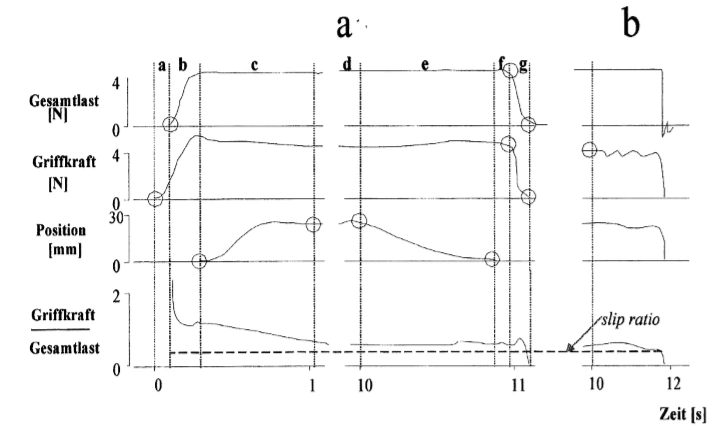
'Abbildung 2: a) Gesamtlast (Hebekraft), Griffkraft, vertikale Position und Verhältnis zwischen Griffkraft und Gesamtlast eines einzelnen Hebeversuchs (Objektgewicht: 400 g; Oberflächenstruktur: Sandpapier). Erläuterungen zu den sieben Phasen a – g im Text. b) Bestimmung der minimalen Griffkraft (slip force). Die vertikale gepunktete Linie kennzeichnet den Beginn der willentlichen Kraftreduktion. Die minimale Differenz zwischen Griffkraft und Gesamtlast (slip ratio) ist abhängig vom Reibungskoeffizienten zwischen Objektoberfläche und Haut. Modifiziert nach Johansson et al. (1984). |
Abbildung 2: a) Gesamtlast (Hubkraft), Griffkraft, vertikale Position und Verhältnis zwischen Griffkraft und Gesamtlast eines einzelnen Hebeversuchs (Objektgewicht: 400g; Oberflächenstruktur: Sandpapier). Erläuterungen zu den sieben Phasen a – g im Text. b) Bestimmung der minimalen Griffkraft (slip force). Die vertikale gepunktete Linie kennzeichnet den Beginn der willentlichen Kraftreduktion. Die minimale Differenz zwischen Griffkraft und Gesamtlast (slip ratio) ist abhängig vom Reibungskoeffizienten zwischen Objektfläche [sic] und Haut. Modifiziert nach Johansson et al. (1994). |
Kein Hinweis auf die Quelle. |
|

